Антена MIMO KNA24-1700/2700
Параболічна MIMO антена KNA24-1700/2700 відноситься до підсилюючихпристроїв, розробленихна основі передових технологій. Інноваційний продукт Crox і Miglink покликаний забезпечити стабільне підключення до інтернету в зонах зі слабким сигналом мобільного оператора або його повною відсутністю. Параболічна антена здатна забезпечити доступ до всесвітньої павутини, де інші види диполь не можуть цього зробити. Пристрій підтримує всі сучасні комунікаційні технології. В Україні вона успішно працює з компаніями: Київстар, Vodafon та Lifecell, за державною ліцензією на експлуатацію мереж LTE. Високий приріст 24 дБі гарантує стабільне з'єднання при наявності оглядової лінії на відстані до 25 км від базової станції мобільного провайдера. У деяких випадках цей показник можна збільшити до 30 км.
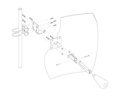
Антена KNA24-1700/2700 складається з параболічного рефлектора прямого фокусування сітки, 350 мм і монтажного комплекту для складання. Конструкція не має великого вітрила, що дозволяє їй витримувати вітрове навантаження до 25 м / с. Диполь рекомендується встановлюватинавеликій висоті на щоглі або даху багатоповерхівки на трубі діаметром до Ø54 мм Компактна конструкція не дозволить антені гойдатися навіть при сильних поривах вітру.
Вузький променистий малюнок зобов'язує при установці пристрою направляти опромінювач безпосередньо на передавальні станції мобільного оператора.
У разі навіть мінімального відхилення від 1°–2°, якість сигналу значнознижується,томуможнавстановити правильну поляризацію антени KNA24. Якщо необхідно змінити поляризацію, досить місцями міняти дроти.
Кріплення диполя здійснюється на місці установки спеціальними затискачами. Антена інтегрована з мережевим обладнанням за допомогою двох коаксіальних кабелів РГ58 або FinMark F660BV довжиною 450 мм.
В Україні антена KNA24 працює в діапазоні частот 1700 - 2700 МГц, що забезпечує роботу частот 4G LTE: Діапазон 7 - 1800 МГц і Частотна смуга 20 - 2600 МГц, 3G UMTS: 2100 МГц, 2G: GSM 1800 МГц. Максимально допустима потужність до 10 Вт.
Для виготовлення антения використовую якісні матеріали і прогресивні покриття. У сітчастому рефлекторі е використовується високолегований сталевий дріт а, пофарбованийпорошковою фарбою композиції. Антена оснащена блискавкозахистом і має високий ступінь герметичності IP68,що виключає попадання пилу і води. Таким чином, він забезпечує свою працездатність в складних кліматичних умовах. Допустима робоча температура становить -40 °С -+50 °С. Бажано використовувати антену в передмістях і сільській місцевості.
Характеристики
Габарити і вага
Відгуків про цей товар ще не було.
Немає запитань про цей товар.



